Principe de moulage du moule à injection, Les particules de plastique séchées pénètrent dans le cylindre de la machine de moulage à travers la trémie de la machine de moulage, Les particules de plastique fondent sous l'action conjointe du chauffage de la feuille chauffante et de la chaleur de cisaillement générée par la rotation de la vis, Le le plastique fondu s'accumule dans la tête de la machine de moulage, la vis de dosage arrête de tourner, passe à la translation vers l'avant, après avoir extrudé le plastique fondu, le plastique pénètre dans le système de porte du moule, puis s'écoule vers la cavité de formation du moule. Une fois le plastique refroidi, solidifié et complètement refroidi par la conduction thermique du moule lui-même et le système de refroidissement externe du moule, le moule est ouvert et le système d'éjection de la machine de moulage éjecte le produit. Dans le même temps, la vis de la machine de moulage recule pour démarrer le prochain dosage de la fusion du plastique.

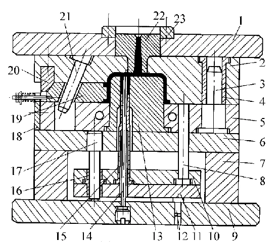
Il existe sept systèmes de moulage par injection : système d'injection, système de guidage, système de moulage, système d'extraction de noyau, système d'éjection, système de refroidissement et système d'échappement.
Système de porte : Courant principal, coureur de shunt, porte et puits de matériau froid.
Système de guidage : poteaux de guidage, manchons de guidage, blocs de positionnement, etc. Système de moulage : noyau de matrice, bloc d'insertion, etc. Comme ci-dessus page 3 4. Système de tirage du noyau : curseur, goupille oblique, etc.
Système d'éjecteur : dé à coudre, bloc éjecteur, etc. Comme ci-dessus, 5. 6. Système de refroidissement : dissipation de la chaleur du moule lui-même et refroidissement des voies navigables.
Système d'échappement : le jeu d'ajustement de chaque insert du moule, le jeu d'ajustement du dé à coudre et la rainure d'échappement externe.

